唐山:曝光30辆违规经营出租车!
唐山信息港 发表于:2019-8-29 09:10 复制链接 看图 发表新帖
阅读数:4720
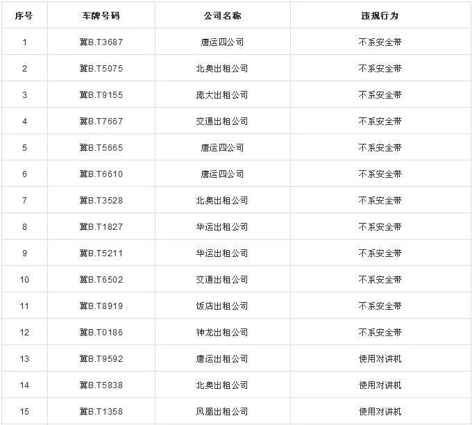
经过近期的集中整治,我市出租汽车从业人员的经营行为有了明显改善。绝大部分经营者能够合法合规经营,但也有极少数经营者心存侥幸,无视管理部门的要求,继续我行我素,现将近期查处的违规车辆予以曝光,望广大从业人员引以为戒,合法合规经营,为行业品牌建设添砖加瓦。

7c3dd9711c31a99607b8ac608bff9f7d.jpg

8c4fc8ea003a1130f1d9883585cbc1fb.jpg

内容来源:唐山市交通运输局
返回列表 使用道具 举报
条评论
您需要登录后才可以回帖 登录 | 立即注册
相关推荐
©2001-2021 唐山信息港 http://www.tsxxg.com冀ICP备2026004523号
首页联系我们客服微信:14369595Comsenz Inc.